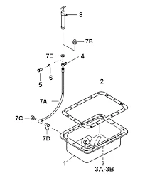
Joint pour carter d’huile moteur: modèle Mini 29, 3 cylindres SolĂ© Diesel. (N°2)
19,54 €
- Des paiements fiables pour des achats fiables
- Des matériaux durables, pour un avenir meilleur.
- Des produits de qualité pour chaque style de vie.
- Produits de haute qualité, petits prix.












Avis
Il n’y a pas encore d’avis.